压缩空气过滤器设计要点及方法分析
- 分类: 行业动态
- 作者:超级管理员
- 来源:本站
- 发布时间:2022-08-05 14:09:19
- 访问量:1037
在压缩空气系统中,虽然压缩空气过滤器的经济成本不高,其成本所占系统总成本的比例很微小,但其作用是不容忽视的。它就相当于人体的“肝脏”,虽没有大脑、五官、心脏那么被人所熟悉,但它却是人体内最大的解毒器官,体内产生的毒物、废物,吃进去的毒物、有损健康的药物等等必须依靠肝脏解毒。那么过滤器的作用就是把压缩空气中所含有的“毒物”——水雾、油雾、微尘粒及微生物等通通解毒掉,让洁净的压缩空气作用于气动设备、仪表、生产工艺过程中,甚至是作为人体的呼吸用气源(在医疗行业)。
不同的行业、不同的应用领域对压缩空气的品质要求均不同,那么,如何从性能、价格、技术的合理性角度去设计压缩空气过滤器呢?我们从滤材的选用、过滤面积的计算、滤速的确定以及过滤器壳体的选用角度进行简要分析。
一、滤材的选择
压缩空气中所含的杂质是多种多样的,不同的用气场景对所使用的压缩空气质量要求也是不同的,而随着科技的发展滤材也是多种多样的,各有特点各有特性。不可能有一种滤材,能满足对一切杂质的有效过滤,所以选择滤芯材料时,我们要尽量考虑以下两项基本要求:
1、实际使用场合的过滤精度和过滤效率
不同滤材的过滤精度、机械性能是不同的,对不同过滤对象杂质的过滤效率是存在很大差异的。如:有适合过滤杂质的尺寸≧5μm的粉末冶金过滤材料和陶瓷过滤材料;也有适合过滤杂质的尺寸<5μm的,过滤精度≧99%的纤维过滤材料。但当过滤对象为油雾时,以上两种滤材就不适合选用了,因为油雾的尺寸通常是<0.1μm,这时就不能选用蓬散的纤维滤料做滤芯材料,而应当采用高性的玻璃纤维滤纸做滤芯。而为进一步提高综合性能,滤芯一般是做成复合结构,也就是多种滤材按科学设计的方式与结构一起使用,如下表所示。

2、经济性
对于压缩空气品质没有那么高要求的场合,就没有必要选用高性能的滤材。如果选用,不仅会造成经济上的浪费,过滤效果也不一定会好。如:高精密的过滤器在粉尘多场合,就容易堵塞,且在技术上也不应该用这样的滤材。
二、过滤面积的计算
过滤面积是指垂直于气流方向的过滤材料的有效面积。滤速是设计过滤器时的重要参数,它是决定滤芯过滤面积的主要依据。
1、对于纤维滤材,过滤面积计算公式:
2、对于粉末治金材料,过滤面积计算公式:
3、对过滤陶瓷滤材,过滤面积计算公式:
式中:A--过滤面积,m2
c--气流通过滤料层时的流速,m/s;
--过滤器在额定状态下过滤器的空气有压流量,m3/h
B--粉末冶金滤材的渗透系数(m2),它取决于材料的常数,由实验确定。
η--空气的动力粘度,N·s/m2;
δ--滤层厚度,m
K--过滤陶瓷透气度,m2·mm-2·s-1·Pa-1;
△Р--空气透过过滤层产生的压力损失,Pa。
三、滤速的确定原则
滤速用C0表示:如图1。


式中:C0--计算滤速度,m/s;
K--波尔茨曼常数,J/K;
T--绝对温度,K;
df--滤材纤维直径,m;
υ--空气的动动粘度,m2/s;
η--空气的动力粘度,Pa·s
dp--需过滤杂质的颗粒直径,m,即过滤精度
确定纤维类过滤材料(包括滤纸)的滤速时,要考虑滤材的速度特性,即过滤效率与滤速的关系。扩散效应随滤速增加而减小,惯性冲击效应随滤速的增加而提高,而其他效应基本上与滤速关系不大。当过滤对象为dp≥0.3μm,惯性冲击作用起主要作用,设计滤速C时应尽量大于计算C0。式中可以看出,df与C0成正比关系,那么纤维直径也不可太大;当过滤对象的dp为0.01μm~0.3μm的细微粒子时(如油雾粒子),扩散沉积机理起主要作用,设计滤速C时应尽量小于计算C0。式中可以看出,df与C0提成正比关系,那么纤维直径也不可太小。
四、过滤器的壳体
压缩空气过滤器需要承受压缩空气的压力,一般做成管状结构,过滤主体——滤芯就密封在壳体里。由于工作时滤芯上的压力降与被处理的空气压力相比可忽略不计,过滤器的壳体就承受了压缩空气的全部压力。因而壳体就属于压力容器,必须有压力容器生产资质才能生产。
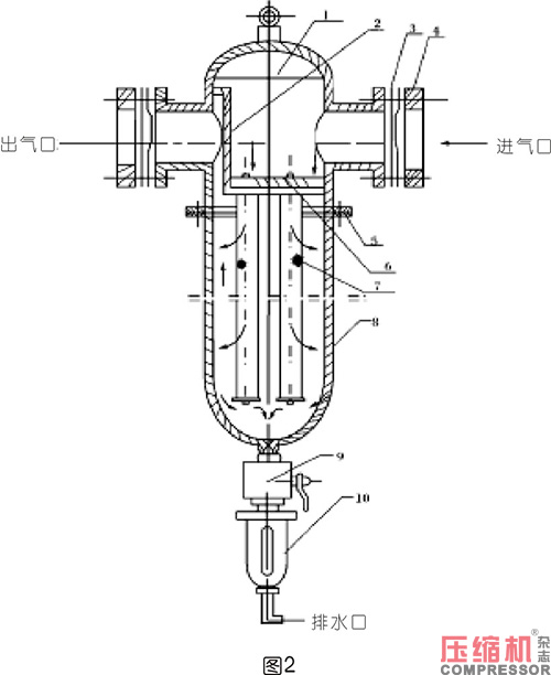
1、壳体材料。一般金属材料,小型过滤器的壳体常用高强度锌铝合金压铸而成;大流量过滤器的壳体多用承压性能良好的锅炉钢板焊接而成。随着技术的发展与需求的变化,现在也有用不锈钢材料制造而成。不管用什么材料,成品壳体必须进行密封试验和水压试验。如图2。

2、壳体结构。如图2,一般由上下两部分组成,上半部分为“滤盖”,下半部分为“滤筒”。滤盖上有压缩空气进出通道(进出气口,口径与外部管径一致),滤芯(如右图7)也是悬挂固定在滤盖上。压缩空气进入过滤器后,只能通过滤芯才能从排气口排出,为此,进、出气口之间是不能有泄露点的,否则压缩空气就会短路,从而不起到过滤作用。
滤筒的作用,一是密封,限制压缩空气只能在过滤器壳体范围内并按规定的方向流动;二是接纳过滤出来的水、油等滤液(为了及时排除滤液污物,在滤筒底部设有手动或自动的排污装置)。一般滤筒的直径比滤芯直径大一倍即可,滤筒的长度应比滤芯长1.25~1.5倍左右,以保证滤芯不遭滤液的浸淹。
过滤器与外部管道的连接,小流量一般用螺纹,大流量一般用法兰。
3、大流量的过滤器的结构有点特殊,有时滤筒内要装几支到几十支滤芯,这时,滤芯的排列显得很重要。通常要求任意三支相邻滤芯应呈等边三角形布置,而相邻两支滤芯的中心距应不小于滤芯直径的1.25倍,以保持气流在滤芯间有足够的流通空间,如图3。

以上简要阐述了压缩空气过滤器设计时应考虑的一些要素如滤材、滤速、过滤面积,及其结构特征,为依据不同使用场景,设计高性能过滤器提供了理论参考,也为压缩空气行业从者提供了提升专业知识的素材,以便我们更好的为压缩空气用户提供专业服务。
注:文中部分内容来源于网络、书本等资料。
来源:压缩机杂志
转发:武汉瑞气节能科技
推荐新闻



4006-027-299
在线留言